Анкета Ice_Man'a
- Автор
- Сообщение
-
Не в сети
- Модератор

- Сообщения: 13525
- Зарегистрирован: Ср апр 08, 2009 21:48 pm
- Автомобиль: ГАЗ 2410, FAW 6371, Ока
- Откуда: Москва
- Благодарил (а): 96 раз
- Поблагодарили: 863 раза
Re: Анкета Ice_Man'a
А я ХЗ что там за партнамбер, они в том же жигулевском отделе продаются. Не помню только, как жигулевские, или как зубильные. Промежуточный и есть: повыше второго и пониже первого. В принципе можно и зубильный поставить.
-- 07 июл 2014 21:38 --
Посмотрел у себя стакан - не очень удобно, срезать на нужном диаметре мешает сливная дырка. А выше он сильно широкий, т.е. понадобится переходной диск с дырками. А самое интересное - трубка-то от насоса в самом верху :). Единственный вариант - трубку на хер, вместо нее закзать гибкий армированный шланг и вонзить вместо сливной пробки.
-- 07 июл 2014 21:38 --
Посмотрел у себя стакан - не очень удобно, срезать на нужном диаметре мешает сливная дырка. А выше он сильно широкий, т.е. понадобится переходной диск с дырками. А самое интересное - трубка-то от насоса в самом верху :). Единственный вариант - трубку на хер, вместо нее закзать гибкий армированный шланг и вонзить вместо сливной пробки.
_________________
Ибу ибуди - хуйдао муди!
Ибу ибуди - хуйдао муди!
-
Не в сети
- Волговод со стажем

- Сообщения: 1665
- Зарегистрирован: Пт май 29, 2009 23:14 pm
- Автомобиль: ГАЗ-24 75г.в
- Откуда: Россия, г. Воронеж...
- Благодарил (а): 22 раза
- Поблагодарили: 41 раз
Re: Анкета Ice_Man'a
Я тоже посмотрел, видимо в одно и тоже время смотрели. И выводы аналогичные. Трубку гнуть по другому или использовать армированный рукав высокого давления (что предпочтительнее при условии использования дорогого буржуйского шланга) с обжатыми банджо-штуцерами. Фильтр срезать выше сливного отверстия на высоту равную месту крепления трубки сверху. Отросток с резьбой верхний переносить вниз, вплотную к дну, варить к стенке. В 3-4см можно уложиться. Делать переходную шайбу с отверстиями по радиусу, варить ее по окружности выше приваренного отростка. Тем самым будет образована полость подающая со штатным сливным отверстием, закрытым болтом. В стальной втулке в центре на дне резать резьбу М20Х1.5 или 3/8", делать новый штуцер.Mortis писал(а):А я ХЗ что там за партнамбер, они в том же жигулевском отделе продаются. Не помню только, как жигулевские, или как зубильные. Промежуточный и есть: повыше второго и пониже первого. В принципе можно и зубильный поставить.
-- 07 июл 2014 21:38 --
Посмотрел у себя стакан - не очень удобно, срезать на нужном диаметре мешает сливная дырка. А выше он сильно широкий, т.е. понадобится переходной диск с дырками. А самое интересное - трубка-то от насоса в самом верху :). Единственный вариант - трубку на хер, вместо нее закзать гибкий армированный шланг и вонзить вместо сливной пробки.
Делов на много денег, особенно по сварке, но зато удобно и навсегда.
Зы: Сегодня чудом попал в "сборку цвет мета". Ехал в магазин и по дороге увидел подвальчик, дай думаю зайду, гляну чо там есть...Зашел, итог на фото - 7.5кг чистого, полезного алюминия. Еще не все смог забрать, денег всего 350р было с собой:(. Лист бумаги формата А3.
- Вложения
-
- 20140707_154541.jpg (174.42 КБ) 11640 просмотров
-
- 20140707_154524.jpg (155.31 КБ) 11640 просмотров
_________________
ГАЗ-24 - 1975г, Chevrolet Niva 2123 - 2014г.
ГАЗ-24 - 1975г, Chevrolet Niva 2123 - 2014г.
-
Не в сети
- Волговод со стажем

- Сообщения: 1665
- Зарегистрирован: Пт май 29, 2009 23:14 pm
- Автомобиль: ГАЗ-24 75г.в
- Откуда: Россия, г. Воронеж...
- Благодарил (а): 22 раза
- Поблагодарили: 41 раз
Re: Анкета Ice_Man'a
С зарплатой жопа. Две недели назад умер ген.дир компании. Пока сплошные непонятки, может вообще отдел наш ликвидируют. Торчат за два месяца з/п, около 2500$. Денег ваще нет, осталась только кредитка с лимитом 60к...
Собсно о чем это я:))))...
Значиццо, съездили к брату жены на д.р его младшего сына:). Подпили слегка 0.75 под тушеное мяско с помидорчиками. Вернулись, пошел в гараж делать Вау:).
Отверстие 4мм, глубиной 50мм (На сколько хватило длины сверла). Конечно индикатор покажет биение, сверлил вручную, дрелью. Олег, спасибо за идею удлинителя
И заготовочка под индикатор, на шпильку гбц из свеже купленой люминьки (20х25х~90), пилил болгаркой. Пилить пилой - "Рука бойца колоть устала, опилкам пролетать мешала гора газет и я:))))"...Алюминиевая пыль даже в трусах:)))))))))))))). Советую пользоваться респиратором и щитком при таких работах!!!
Блин, раз 10 исправлял ошибки в посте
Завтра опишу относительно простой способ сверления отверстий по центру
.
Собсно о чем это я:))))...
Значиццо, съездили к брату жены на д.р его младшего сына:). Подпили слегка 0.75 под тушеное мяско с помидорчиками. Вернулись, пошел в гараж делать Вау:).
Отверстие 4мм, глубиной 50мм (На сколько хватило длины сверла). Конечно индикатор покажет биение, сверлил вручную, дрелью. Олег, спасибо за идею удлинителя
Блин, раз 10 исправлял ошибки в посте
- Вложения
-
- 20140707_234854.jpg (183.68 КБ) 11624 просмотра
-
- 20140707_234804.jpg (163.96 КБ) 11624 просмотра
-
- 20140707_234750.jpg (152.09 КБ) 11624 просмотра
-
- 20140707_234701.jpg (167.92 КБ) 11624 просмотра
-
- 20140707_234655.jpg (236.22 КБ) 11624 просмотра
_________________
ГАЗ-24 - 1975г, Chevrolet Niva 2123 - 2014г.
ГАЗ-24 - 1975г, Chevrolet Niva 2123 - 2014г.
-
Не в сети
- Волговод со стажем

- Сообщения: 1665
- Зарегистрирован: Пт май 29, 2009 23:14 pm
- Автомобиль: ГАЗ-24 75г.в
- Откуда: Россия, г. Воронеж...
- Благодарил (а): 22 раза
- Поблагодарили: 41 раз
Re: Анкета Ice_Man'a
В очередной раз перерисовал диаграмму фаз 25-го вала, надеюсь правильно:)...
Фото новых поделок на которые убил почти два неполных дня. Поршневой стопор по совету Олега для вычисления истинного ВМТ из съемника.
-- 09 июл 2014 13:07 --
Привод масло насоса он же в молодости привод трамблера. И как просверлить штангу вдоль по оси не имея токарного станка. Переход с диаметра Ф5 до диаметра Ф4 и нарезка М2.5 для индикатора тоже сделано с помощью дрели и болгарки.
Ребенка укачал, пошел в гараж...
Фото новых поделок на которые убил почти два неполных дня. Поршневой стопор по совету Олега для вычисления истинного ВМТ из съемника.
-- 09 июл 2014 13:07 --
Привод масло насоса он же в молодости привод трамблера. И как просверлить штангу вдоль по оси не имея токарного станка. Переход с диаметра Ф5 до диаметра Ф4 и нарезка М2.5 для индикатора тоже сделано с помощью дрели и болгарки.
Ребенка укачал, пошел в гараж...
- Вложения
-
- 20140708_152848.jpg (299.02 КБ) 11587 просмотров
-
- 20140709_125005.jpg (248.35 КБ) 11587 просмотров
-
- 20140709_125259.jpg (268.54 КБ) 11587 просмотров
-
- 20140709_124729.jpg (277.06 КБ) 11587 просмотров
-
- 20140709_124719.jpg (209.88 КБ) 11587 просмотров
_________________
ГАЗ-24 - 1975г, Chevrolet Niva 2123 - 2014г.
ГАЗ-24 - 1975г, Chevrolet Niva 2123 - 2014г.
-
Не в сети
- Модератор

- Сообщения: 13525
- Зарегистрирован: Ср апр 08, 2009 21:48 pm
- Автомобиль: ГАЗ 2410, FAW 6371, Ока
- Откуда: Москва
- Благодарил (а): 96 раз
- Поблагодарили: 863 раза
Re: Анкета Ice_Man'a
Блин, тебе надо было только стрелки в другую сторону нарисовать. Перерисовывай еще раз :).
_________________
Ибу ибуди - хуйдао муди!
Ибу ибуди - хуйдао муди!
-
Не в сети
- Волговод со стажем

- Сообщения: 1665
- Зарегистрирован: Пт май 29, 2009 23:14 pm
- Автомобиль: ГАЗ-24 75г.в
- Откуда: Россия, г. Воронеж...
- Благодарил (а): 22 раза
- Поблагодарили: 41 раз
Re: Анкета Ice_Man'a
Эээ, а почему??? Коленвал то вроде вращается по часовой стрелке, не?Mortis писал(а):Блин, тебе надо было только стрелки в другую сторону нарисовать. Перерисовывай еще раз :).
Поршневой стопор в действии:). Сходил в гараж, поймал ВМТ. Как ты рекомендовал, Олег, произвел все по пунктам. Выставил ВМТ, открутил в -21 градус, повращал РВ, выставил подъем 0.3мм. Прокрутил до +55 градусов, индикатор показал 0.34мм. Проверил правильность установки ВМТ, установил КВ на 0, подвел болт стопора и прокрутил 360 градусов. Поршень в стопор не упирается, но слышно как зазор выбирается в резьбе болта. Все правильно? Чорт, а я ваще в ту сторону крутил то:)))))?
Почему то КВ стал туже вращаться. Есть место где прокручивать становится тяжелее, в районе середины гильз, когда все поршни на одном уровне. В области ВМТ и НМТ крутится легче. Вытекло масло за это время?
- Вложения
-
- 20140709_135316.jpg (253.8 КБ) 11566 просмотров
_________________
ГАЗ-24 - 1975г, Chevrolet Niva 2123 - 2014г.
ГАЗ-24 - 1975г, Chevrolet Niva 2123 - 2014г.
-
Не в сети
- Модератор

- Сообщения: 13525
- Зарегистрирован: Ср апр 08, 2009 21:48 pm
- Автомобиль: ГАЗ 2410, FAW 6371, Ока
- Откуда: Москва
- Благодарил (а): 96 раз
- Поблагодарили: 863 раза
Re: Анкета Ice_Man'a
Все правильно, колено по часовой. При этом зеленый сектор должен быть справа, а красный слева.
_________________
Ибу ибуди - хуйдао муди!
Ибу ибуди - хуйдао муди!
-
Не в сети
- Волговод со стажем

- Сообщения: 1665
- Зарегистрирован: Пт май 29, 2009 23:14 pm
- Автомобиль: ГАЗ-24 75г.в
- Откуда: Россия, г. Воронеж...
- Благодарил (а): 22 раза
- Поблагодарили: 41 раз
Re: Анкета Ice_Man'a
Блин, ниче не понимаюMortis писал(а):Все правильно, колено по часовой. При этом зеленый сектор должен быть справа, а красный слева.
- Вложения
-
- Безымянный.jpg (219.09 КБ) 11539 просмотров
_________________
ГАЗ-24 - 1975г, Chevrolet Niva 2123 - 2014г.
ГАЗ-24 - 1975г, Chevrolet Niva 2123 - 2014г.
-
Не в сети
- Модератор

- Сообщения: 13525
- Зарегистрирован: Ср апр 08, 2009 21:48 pm
- Автомобиль: ГАЗ 2410, FAW 6371, Ока
- Откуда: Москва
- Благодарил (а): 96 раз
- Поблагодарили: 863 раза
Re: Анкета Ice_Man'a
Диаграмма рисуется в статике, а не на вращающемся транспортире. Транспортир просто для наглядности. Также как и направление по часовой стрелке больше для удобства. Е
Если ты просто хочешь чтобы можно было распечатать этот транспортир с диаграммой, повесить на колено и по нему выставить распредвал, то предпоследний вариант правильный. Но люди, привыкшие к общепринятым диаграммам будут путаться :).
Если ты просто хочешь чтобы можно было распечатать этот транспортир с диаграммой, повесить на колено и по нему выставить распредвал, то предпоследний вариант правильный. Но люди, привыкшие к общепринятым диаграммам будут путаться :).
_________________
Ибу ибуди - хуйдао муди!
Ибу ибуди - хуйдао муди!
-
Не в сети
- Волговод со стажем

- Сообщения: 1665
- Зарегистрирован: Пт май 29, 2009 23:14 pm
- Автомобиль: ГАЗ-24 75г.в
- Откуда: Россия, г. Воронеж...
- Благодарил (а): 22 раза
- Поблагодарили: 41 раз
Re: Анкета Ice_Man'a
ПардонMortis писал(а):Диаграмма рисуется в статике, а не на вращающемся транспортире. Транспортир просто для наглядности. Также как и направление по часовой стрелке больше для удобства. Е
Если ты просто хочешь чтобы можно было распечатать этот транспортир с диаграммой, повесить на колено и по нему выставить распредвал, то предпоследний вариант правильный. Но люди, привыкшие к общепринятым диаграммам будут путаться :).
Кстати, в предыдущий раз я не в ту сторону крутил КВ, т.е не в -21, а в+21... В правильном направлении не хватает диапазона регулировки, даже с тем, что я пропилил...
-- 09 июл 2014 21:35 --
Вообщем пошел в гараж, повторил весь процесс заново.
Установил истинное положение ВМТ с помощью поршневого стопора. Повернул коленвал против ч.с на 21 градус и установил индикатор на 0 (шестерня при этом была установлена по заводской метке, пропил совпадал и на разрезной ступице). Вращением распредвала за болт выставил начальный подъем впускного клапана первого цилиндра 0.3мм. Затем зафиксировал от проворачивания на ступице шестерню и прокрутил коленвал по ч.с до 55 градусов, индикатор показал значение на фото ниже.
Олег, прокоментируй пожалуйста, правильно ли я выставил фазы?
- Вложения
-
- 2.jpg (219.9 КБ) 11513 просмотров
-
- 1.jpg (218.41 КБ) 11513 просмотров
_________________
ГАЗ-24 - 1975г, Chevrolet Niva 2123 - 2014г.
ГАЗ-24 - 1975г, Chevrolet Niva 2123 - 2014г.
-
Не в сети
- Волговод со стажем

- Сообщения: 1665
- Зарегистрирован: Пт май 29, 2009 23:14 pm
- Автомобиль: ГАЗ-24 75г.в
- Откуда: Россия, г. Воронеж...
- Благодарил (а): 22 раза
- Поблагодарили: 41 раз
Re: Анкета Ice_Man'a
Возник следующий вопрос. В какое положение установить отметчик для ДПРВ? В смысле в данный момент, когда еще не стоит шкив коленвала, передняя крышка и нет возможности узнать где будет 1-й зуб венца. Есть две вот такие иллюстрации...Верны ли они?
- Вложения
-
- x_cb9d4d7a.jpg (40.43 КБ) 11500 просмотров
-
- x_56739c05.jpg (48.48 КБ) 11500 просмотров
_________________
ГАЗ-24 - 1975г, Chevrolet Niva 2123 - 2014г.
ГАЗ-24 - 1975г, Chevrolet Niva 2123 - 2014г.
-
Не в сети
- Модератор

- Сообщения: 13525
- Зарегистрирован: Ср апр 08, 2009 21:48 pm
- Автомобиль: ГАЗ 2410, FAW 6371, Ока
- Откуда: Москва
- Благодарил (а): 96 раз
- Поблагодарили: 863 раза
Re: Анкета Ice_Man'a
Затем зафиксировал от проворачивания на ступице шестерню и прокрутил коленвал по ч.с до 55 градусов

:)
Насчет датчика не знаю, а зачем он тебе сейчас?

:)
Насчет датчика не знаю, а зачем он тебе сейчас?
_________________
Ибу ибуди - хуйдао муди!
Ибу ибуди - хуйдао муди!
-
Не в сети
- Волговод со стажем

- Сообщения: 1665
- Зарегистрирован: Пт май 29, 2009 23:14 pm
- Автомобиль: ГАЗ-24 75г.в
- Откуда: Россия, г. Воронеж...
- Благодарил (а): 22 раза
- Поблагодарили: 41 раз
Re: Анкета Ice_Man'a
***
Вот я баран
Т.е получается 90 градусов не докрутил...
Ну как зачем, отметчик то надо поставить до того как крышку переднюю закрою...лючка то тютьки
Олег, а передаточное коромысла 1.45:1 или 1.5:1???
Ну как зачем, отметчик то надо поставить до того как крышку переднюю закрою...лючка то тютьки
Олег, а передаточное коромысла 1.45:1 или 1.5:1???
_________________
ГАЗ-24 - 1975г, Chevrolet Niva 2123 - 2014г.
ГАЗ-24 - 1975г, Chevrolet Niva 2123 - 2014г.
-
Не в сети
- Модератор

- Сообщения: 13525
- Зарегистрирован: Ср апр 08, 2009 21:48 pm
- Автомобиль: ГАЗ 2410, FAW 6371, Ока
- Откуда: Москва
- Благодарил (а): 96 раз
- Поблагодарили: 863 раза
Re: Анкета Ice_Man'a
Ice_Man
А ХЗ, коромысла один хрен все кривые :). Если пересчитать из параметров ОКБшных валов, получается 1.44
А ХЗ, коромысла один хрен все кривые :). Если пересчитать из параметров ОКБшных валов, получается 1.44
_________________
Ибу ибуди - хуйдао муди!
Ибу ибуди - хуйдао муди!
-
Не в сети
- Волговод со стажем

- Сообщения: 1665
- Зарегистрирован: Пт май 29, 2009 23:14 pm
- Автомобиль: ГАЗ-24 75г.в
- Откуда: Россия, г. Воронеж...
- Благодарил (а): 22 раза
- Поблагодарили: 41 раз
Re: Анкета Ice_Man'a
Олег, а если выставлять по перекрытию клапанов, то надо два индикатора ставить на впуск и выпуск первого цилиндра?Mortis писал(а):Ice_Man
А ХЗ, коромысла один хрен все кривые :). Если пересчитать из параметров ОКБшных валов, получается 1.44
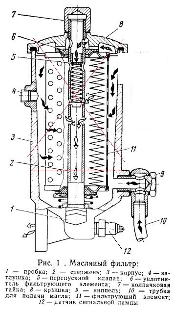
Твоя идея насчет стакана маслофильтра в картинках:
1. Вырезаем акуратно место крепления подводной трубки.
2. Примеряем к нижней части, вырезаем аналогичное по контуру отверстие, варим.
3. Обрезаем маслостакан под корень до приваренного места крепления подводящей трубки.
4. В стенке корпуса режем кольцевую канавку для уплотнения.
5. Вырезаем окружность из листа алюминия, сверлим по окружности отверстия, прорезаем ответную часть канавки.
6. Растачиваем центральное отверстие под удлинитель и нарезаем 20х1.5 или 3/8" по вкусу.
7. Вкручиваем удлинитель на красный фиксатор резьбы. Вкладываем в канавку уплотнитель или делаем из герметика прокладку. Надеваем "дырявую шайбу" см.п.5. на удлинитель и прикручиваем низкой гайкой.
8. Изготавливаем подводящую трубку необходимой конфигурации из 2-х стандартных.
9. Собираем все в обычной последовательности - корпус - прокладка - теплообменник - прокладка - фильтр.
ЗЫ: Пластину с отверстиями можно и не приваривать к корпусу, а сделать кольцевое уплотнение по типу как в крышке и прижать узкой гайкой как теплообменник. Можно и широкой, но тогда надо толщину пластины увеличивать, что бы утопить гайку.
- Вложения
-
- рис19.jpg (98.21 КБ) 11478 просмотров
-
- 1.jpg (98.55 КБ) 11478 просмотров
-
- 2.jpg (102.02 КБ) 11478 просмотров
-
- 3.jpg (56.83 КБ) 11478 просмотров
_________________
ГАЗ-24 - 1975г, Chevrolet Niva 2123 - 2014г.
ГАЗ-24 - 1975г, Chevrolet Niva 2123 - 2014г.
-
Не в сети
- Модератор

- Сообщения: 13525
- Зарегистрирован: Ср апр 08, 2009 21:48 pm
- Автомобиль: ГАЗ 2410, FAW 6371, Ока
- Откуда: Москва
- Благодарил (а): 96 раз
- Поблагодарили: 863 раза
Re: Анкета Ice_Man'a
По перекрытию - да, два индикатора. Или, если считать что вал идеально ровный, можно по одному, выставив любой из толкателей на указанную высоту перекрытия (не забыв, опять же, про клвпанной зазор).
В стакане незачем переваривать штуцер, проще разделать сливной и подавать туда. Сливать такой небольшой объем ни к чему, по-моему мнению.
В стакане незачем переваривать штуцер, проще разделать сливной и подавать туда. Сливать такой небольшой объем ни к чему, по-моему мнению.
_________________
Ибу ибуди - хуйдао муди!
Ибу ибуди - хуйдао муди!
-
Не в сети
- Волговод со стажем

- Сообщения: 1665
- Зарегистрирован: Пт май 29, 2009 23:14 pm
- Автомобиль: ГАЗ-24 75г.в
- Откуда: Россия, г. Воронеж...
- Благодарил (а): 22 раза
- Поблагодарили: 41 раз
Re: Анкета Ice_Man'a
Т.е про тот подъем, что ты мне писал (0.3мм) это как раз по варианту " если считать что вал идеально ровный"? т.е точнее будет выставить просто взяв два индикатора. Ничего не вымеряя и не отсчитывая? и про зазор...0.3 это подъем толкателя который необходим или к нему еще зазор надо прибавить?Mortis писал(а):По перекрытию - да, два индикатора. Или, если считать что вал идеально ровный, можно по одному, выставив любой из толкателей на указанную высоту перекрытия (не забыв, опять же, про клвпанной зазор).
В стакане незачем переваривать штуцер, проще разделать сливной и подавать туда. Сливать такой небольшой объем ни к чему, по-моему мнению.
Про пробку, в принципе да. Я как то про нее забыл...Только подводящая трубка сложнее получится. В таком варианте получится еще дешевле. Без сварки, но токарка все равно нужна...
А еще вот интересно стало. Меня всегда интересовало, зачем в "ноге" стакана вторая полость, которая ни с чем не сообщается??? На фото где марка сплава...
- Вложения
-
- 019478_2(1).jpg (108.82 КБ) 11458 просмотров
_________________
ГАЗ-24 - 1975г, Chevrolet Niva 2123 - 2014г.
ГАЗ-24 - 1975г, Chevrolet Niva 2123 - 2014г.
-
Не в сети
- Заслуженный участник форума

- Сообщения: 3429
- Зарегистрирован: Ср апр 08, 2009 12:01 pm
- Автомобиль: ГАЗ-24 (с дополнениями)
- Откуда: Москва, Бутово
- Благодарил (а): 95 раз
- Поблагодарили: 198 раз
Re: Анкета Ice_Man'a
Не 90, а 55 до НМТ + 55 после НМТ = 110Ice_Man писал(а):Т.е получается 90 градусов не докрутил...
0,3 это уже с учётом зазора, прибавлять ничего не надо.
_________________
Aнкета моего Бизона
"без кувалды и зубила, ты не слесарь - а..."
Куплю зелёные велюровые сиденья образца 3102/2410
Aнкета моего Бизона
"без кувалды и зубила, ты не слесарь - а..."
Куплю зелёные велюровые сиденья образца 3102/2410
-
Не в сети
- Модератор

- Сообщения: 13525
- Зарегистрирован: Ср апр 08, 2009 21:48 pm
- Автомобиль: ГАЗ 2410, FAW 6371, Ока
- Откуда: Москва
- Благодарил (а): 96 раз
- Поблагодарили: 863 раза
Re: Анкета Ice_Man'a
0.3мм это нулевой подъем и полностью выбранный зазор. Если нужно по толкателю намерить подъем 2мм (или сколько там в пике перекрытия), то это будет 0.3 + (2 \ 1.5) = 1.36мм.
Зачем полость ХЗ, наверное чтобы лишний алюминий не расходовать.
Зачем полость ХЗ, наверное чтобы лишний алюминий не расходовать.
_________________
Ибу ибуди - хуйдао муди!
Ибу ибуди - хуйдао муди!
-
Не в сети
- Волговод со стажем

- Сообщения: 1665
- Зарегистрирован: Пт май 29, 2009 23:14 pm
- Автомобиль: ГАЗ-24 75г.в
- Откуда: Россия, г. Воронеж...
- Благодарил (а): 22 раза
- Поблагодарили: 41 раз
Re: Анкета Ice_Man'a
Вы меня наверное сейчас обматерите и отпинаете, но у меня вот что получилось сегодня. Два раза переделывал:
***, хоть стойку покупай, что бы индикатор зажать еще один...
***, хоть стойку покупай, что бы индикатор зажать еще один...
- Вложения
-
- 1.jpg (226.69 КБ) 11416 просмотров
-
- 2.jpg (272.53 КБ) 11416 просмотров
_________________
ГАЗ-24 - 1975г, Chevrolet Niva 2123 - 2014г.
ГАЗ-24 - 1975г, Chevrolet Niva 2123 - 2014г.
-
Не в сети
- Модератор

- Сообщения: 13525
- Зарегистрирован: Ср апр 08, 2009 21:48 pm
- Автомобиль: ГАЗ 2410, FAW 6371, Ока
- Откуда: Москва
- Благодарил (а): 96 раз
- Поблагодарили: 863 раза
Re: Анкета Ice_Man'a
У тебя стрелка ниже нуля ушла, неправильно выставлен ноль на индикаторе.
-- 10 июл 2014 23:24 --
Толкатель мог не до конца опуститься, прижимай его пальцем через индикатор в процессе вращения колена.
-- 10 июл 2014 23:24 --
Толкатель мог не до конца опуститься, прижимай его пальцем через индикатор в процессе вращения колена.
_________________
Ибу ибуди - хуйдао муди!
Ибу ибуди - хуйдао муди!
-
Не в сети
- Волговод со стажем

- Сообщения: 1665
- Зарегистрирован: Пт май 29, 2009 23:14 pm
- Автомобиль: ГАЗ-24 75г.в
- Откуда: Россия, г. Воронеж...
- Благодарил (а): 22 раза
- Поблагодарили: 41 раз
Re: Анкета Ice_Man'a
Т.е должен показывать ту же цифру, а не противоположную, правильно? К примеру черную, и на 21 градусе и на 55???Mortis писал(а):У тебя стрелка ниже нуля ушла, неправильно выставлен ноль на индикаторе.
Значит где то клинит, возможно толкатель...Я все выставлял верно. Сначала установил на -21 градус, потом выставил 0, потом вращение РВ выставил 0.30. Может я что то не верно делаю?
Олег, извини за тупорыльство мое...
Крутить колено и одновременно индикатор прижимать проблематично:). Колено я кручу за маховик, больше никак не получается...Попробую завтра пригрузить слегка индикатор...Mortis писал(а):Толкатель мог не до конца опуститься, прижимай его пальцем через индикатор в процессе вращения колена.
_________________
ГАЗ-24 - 1975г, Chevrolet Niva 2123 - 2014г.
ГАЗ-24 - 1975г, Chevrolet Niva 2123 - 2014г.
-
Не в сети
- Модератор

- Сообщения: 13525
- Зарегистрирован: Ср апр 08, 2009 21:48 pm
- Автомобиль: ГАЗ 2410, FAW 6371, Ока
- Откуда: Москва
- Благодарил (а): 96 раз
- Поблагодарили: 863 раза
Re: Анкета Ice_Man'a
Ice_Man
Сначала установил на -21 градус, потом выставил 0, потом вращение РВ выставил 0.30
А ты уверен, что кулачок в это время строго затылком стоял? Лучше сначала покрути колено туда-сюда и убедись, что это самое нижнее положение толкателя. А то может шестерню на зуб переставить надо.
Сначала установил на -21 градус, потом выставил 0, потом вращение РВ выставил 0.30
А ты уверен, что кулачок в это время строго затылком стоял? Лучше сначала покрути колено туда-сюда и убедись, что это самое нижнее положение толкателя. А то может шестерню на зуб переставить надо.
_________________
Ибу ибуди - хуйдао муди!
Ибу ибуди - хуйдао муди!
-
Не в сети
- Волговод со стажем

- Сообщения: 1665
- Зарегистрирован: Пт май 29, 2009 23:14 pm
- Автомобиль: ГАЗ-24 75г.в
- Откуда: Россия, г. Воронеж...
- Благодарил (а): 22 раза
- Поблагодарили: 41 раз
Re: Анкета Ice_Man'a
Хорошо. Сегодня опять буду пробовать настроить. Спасибо тебе Олег за помощьMortis писал(а):Ice_Man
Сначала установил на -21 градус, потом выставил 0, потом вращение РВ выставил 0.30
А ты уверен, что кулачок в это время строго затылком стоял? Лучше сначала покрути колено туда-сюда и убедись, что это самое нижнее положение толкателя. А то может шестерню на зуб переставить надо.
Я вот еще один момент вспомнил. Когда я выставляю по транспортиру 21 градус до ВМТ в каком положении должна быть шестерня распредвала? В смысле того, что я совместил метки, но при этом РВ может стоять в разных положениях т.к пропил позволяет его прокручивать на пару зубов шестерни. Мне надо перед выставлением индикатора поставить РВ в стандартное положение, т.е поставить его так, что бы он был как сток (как будто шестерня у меня стандартная)? Или это не имеет значения?
_________________
ГАЗ-24 - 1975г, Chevrolet Niva 2123 - 2014г.
ГАЗ-24 - 1975г, Chevrolet Niva 2123 - 2014г.
-
Не в сети
- Заслуженный участник форума

- Сообщения: 2896
- Зарегистрирован: Вс окт 07, 2012 12:04 pm
- Автомобиль: Газ 31029 1995 г.в.,
- Откуда: Шиханы
- Благодарил (а): 209 раз
- Поблагодарили: 86 раз
Re: Анкета Ice_Man'a
пришло на ум приложить стоковую шестерню РВ ) По идее, надо было до установки чиркнуть на разрезной стоковые метки, чтобы не запутаться.Ice_Man писал(а): поставить РВ в стандартное положение,
З.Ы. А стоковая диаграмма фаз есть?
-- Пт июл 11, 2014 14:36 pm --
Вот вообще наглядно, как общепринятые диаграммы выглядят. Надеюсь, поможет в голове уложить некоторые моменты :) Отсюда же вроде, с форума скачивал.
_________________
Каждый думает по-своему.
ГАЗ-космической кары нейтронный фугас (с) :)
Каждый думает по-своему.
ГАЗ-космической кары нейтронный фугас (с) :)
-
Не в сети
- Волговод со стажем

- Сообщения: 1665
- Зарегистрирован: Пт май 29, 2009 23:14 pm
- Автомобиль: ГАЗ-24 75г.в
- Откуда: Россия, г. Воронеж...
- Благодарил (а): 22 раза
- Поблагодарили: 41 раз
Re: Анкета Ice_Man'a
Честно говоря к этой еще не прикладывал. Транспортир мешает пока. А к другой белой прикладывал, метки не совпали, не помню на сколько именно. А фазы стандартного могу нарисовать. Надо только посмотреть градусы там какие, я уже не помню. Вы только скажите как в точности правильно рисовать диаграммы, а то я из слов Олега понял, что я не правильно нарисовал:))))...Могу нарисовать на всю линейку ОКБ, мне не сложно.shtepsel_ писал(а):пришло на ум приложить стоковую шестерню РВ ) По идее, надо было до установки чиркнуть на разрезной стоковые метки, чтобы не запутаться.Ice_Man писал(а): поставить РВ в стандартное положение,
З.Ы. А стоковая диаграмма фаз есть?
На разрезной есть своеобразная метка-пропил оставшаяся от обработки. Т.е +/- выставить как было до отделения ступицы можно.
_________________
ГАЗ-24 - 1975г, Chevrolet Niva 2123 - 2014г.
ГАЗ-24 - 1975г, Chevrolet Niva 2123 - 2014г.
-
Не в сети
- Заслуженный участник форума

- Сообщения: 2896
- Зарегистрирован: Вс окт 07, 2012 12:04 pm
- Автомобиль: Газ 31029 1995 г.в.,
- Откуда: Шиханы
- Благодарил (а): 209 раз
- Поблагодарили: 86 раз
Re: Анкета Ice_Man'a
Вон выше наглядно ) Оно как раз от 402-го мотора.Ice_Man писал(а):скажите как в точности правильно рисовать диаграммы
Можно на "ты", или я что-то неправильно понял?
Лады. В книжке нарисовано, как шестерни КВ и РВ стоят. Отсчитываешь нужный зуб от шпонки - и вот оно стоковое положение. Я так думаю :)Ice_Man писал(а):А к другой белой прикладывал, метки не совпали, не помню на сколько именно.
В свое время так ставил шестерни (отсчитывая зубья) потому как на шестерне КВ найти метку не получилось.
_________________
Каждый думает по-своему.
ГАЗ-космической кары нейтронный фугас (с) :)
Каждый думает по-своему.
ГАЗ-космической кары нейтронный фугас (с) :)
-
Не в сети
- Волговод со стажем

- Сообщения: 1665
- Зарегистрирован: Пт май 29, 2009 23:14 pm
- Автомобиль: ГАЗ-24 75г.в
- Откуда: Россия, г. Воронеж...
- Благодарил (а): 22 раза
- Поблагодарили: 41 раз
Re: Анкета Ice_Man'a
Вообщем то я не конкретно обращался к тебе, а к общественностиshtepsel_ писал(а):Вон выше наглядно ) Оно как раз от 402-го мотора.Ice_Man писал(а):скажите как в точности правильно рисовать диаграммы
Можно на "ты", или я что-то неправильно понял?Лады. В книжке нарисовано, как шестерни КВ и РВ стоят. Отсчитываешь нужный зуб от шпонки - и вот оно стоковое положение. Я так думаю :)Ice_Man писал(а):А к другой белой прикладывал, метки не совпали, не помню на сколько именно.
В свое время так ставил шестерни (отсчитывая зубья) потому как на шестерне КВ найти метку не получилось.
По зубьям понял, проверю сегодня.
_________________
ГАЗ-24 - 1975г, Chevrolet Niva 2123 - 2014г.
ГАЗ-24 - 1975г, Chevrolet Niva 2123 - 2014г.
-
Не в сети
- Заслуженный участник форума

- Сообщения: 3429
- Зарегистрирован: Ср апр 08, 2009 12:01 pm
- Автомобиль: ГАЗ-24 (с дополнениями)
- Откуда: Москва, Бутово
- Благодарил (а): 95 раз
- Поблагодарили: 198 раз
Re: Анкета Ice_Man'a
Выставляешь КВ на -21 град по транспортиру, потом крутишь РВ за болт, ловя подъём толкателя 0,3 мм, а как поймал - затягиваешь в этом положении шестерню на РВ. Первоначальное положение шестерни имеет значение только приблизительное, чтобы диапазона пропила хватило. А приблизительно и так видно, пропил в конусе и ступице шестерни напротив шпоночного пазаIce_Man писал(а):Я вот еще один момент вспомнил. Когда я выставляю по транспортиру 21 градус до ВМТ в каком положении должна быть шестерня распредвала? В смысле того, что я совместил метки, но при этом РВ может стоять в разных положениях т.к пропил позволяет его прокручивать на пару зубов шестерни. Мне надо перед выставлением индикатора поставить РВ в стандартное положение, т.е поставить его так, что бы он был как сток (как будто шестерня у меня стандартная)? Или это не имеет значения?
Последний раз редактировалось 436 Пт июл 11, 2014 15:04 pm, всего редактировалось 1 раз.
_________________
Aнкета моего Бизона
"без кувалды и зубила, ты не слесарь - а..."
Куплю зелёные велюровые сиденья образца 3102/2410
Aнкета моего Бизона
"без кувалды и зубила, ты не слесарь - а..."
Куплю зелёные велюровые сиденья образца 3102/2410

